要不是PS4跨屏聯動功能,PS Vita的銷量可能已經慘到不忍睹,而這款曾被寄予厚望的掌機也被很多玩家戲稱作“高級PS4手掣”。
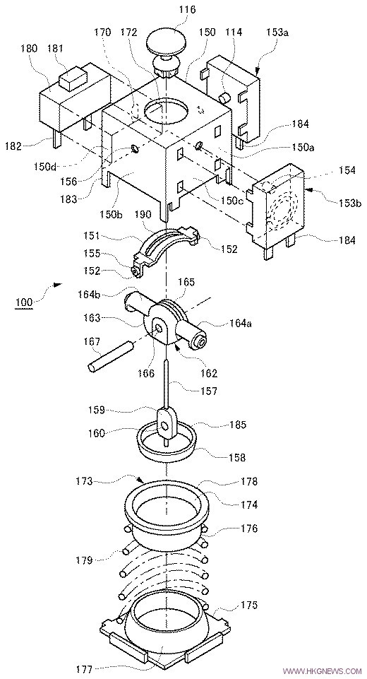
近日,一份SONY新專利曝光,內容是面向掌機的全新搖桿設計方案,其中最大的亮點在於加入了類似主機手柄的L3/R3按鍵。
對此,有觀點認為,SONY的下一代掌機將更加突出與家庭遊戲主機的關聯性,加入L3/R3鍵便可以完整實現手掣功能。
不知道SONY的下一代掌機是不是還會加入L2/R2肩部案件呢?
專利中還提到了按壓操作。因為說明圖樣採用的明顯是PSV,所以有玩家猜測這和新版PSV相關。新型號的PSV或者SONY新的掌機可能會給類比搖桿加入這種更加複雜的力回饋系統,以及在掌機上長期缺席的L3R3鍵。
專利中提到了負荷開關的畫面。也就是說遊戲中角色的重量,物品的體積等信息都可以對手感造成影響。這個系統需要遊戲在設計開發時就做許多工作,玩家也對手感能有許多自定義空間。這個技術對於提升模擬駕駛遊戲的手感,還有提升QTE操作的體驗很有幫助。SONY今後的掌機遊戲會用上這樣創新的操作能力嗎?









